
MIL-DTL-28748/3F
Inches
mm
.002
0.05
.003
0.08
.005
0.13
.008
0.20
.010
0.25
.016
0.41
.020
0.51
.090
2.23
.110
2.79
.118
2.30
.143
3.63
.150
3.81
.180
4.57
.195
4.95
.235
5.97
.250
6.35
.260
6.60
.312
7.92
.370
9.40
.500
12.70
.525
13.34
.5625
14.288
1.125
28.58
1.500
38.10
1.673
42.49
1.969
50.01
2.281
57.94
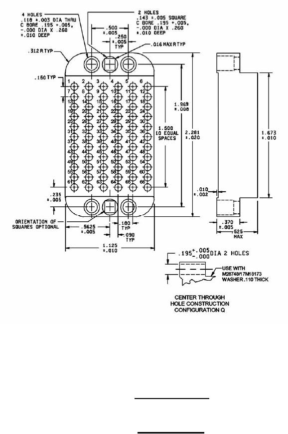
Configuration J - Suitable for all applications, except for one-piece jackscrews.
Configuration Q - For long jackscrews and shield only (through hole alternate construction).
Insert with 66 contacts
Insert designators J and Q
FIGURE 2. Insert arrangements - Continued.
10
For Parts Inquires submit RFQ to Parts Hangar, Inc.
© Copyright 2015 Integrated Publishing, Inc.
A Service Disabled Veteran Owned Small Business