
MIL-DTL-28748/3F
Inches
mm
0.05
.002
0.08
.003
0.10
.004
0.13
.005
0.20
.008
0.25
.010
0.41
.016
0.51
.020
0.64
.025
1.57
.062
1.91
.075
2.29
.090
2.79
.093
3.00
.110
2.97
.117
3.00
.118
3.45
.135
3.63
.143
3.81
.150
3.96
.156
4.57
.180
4.95
.195
5.94
.234
6.12
.241
6.60
.260
9.40
.370
9.73
.383
13.34
.525
15.67
.617
19.46
.766
31.34
1.234
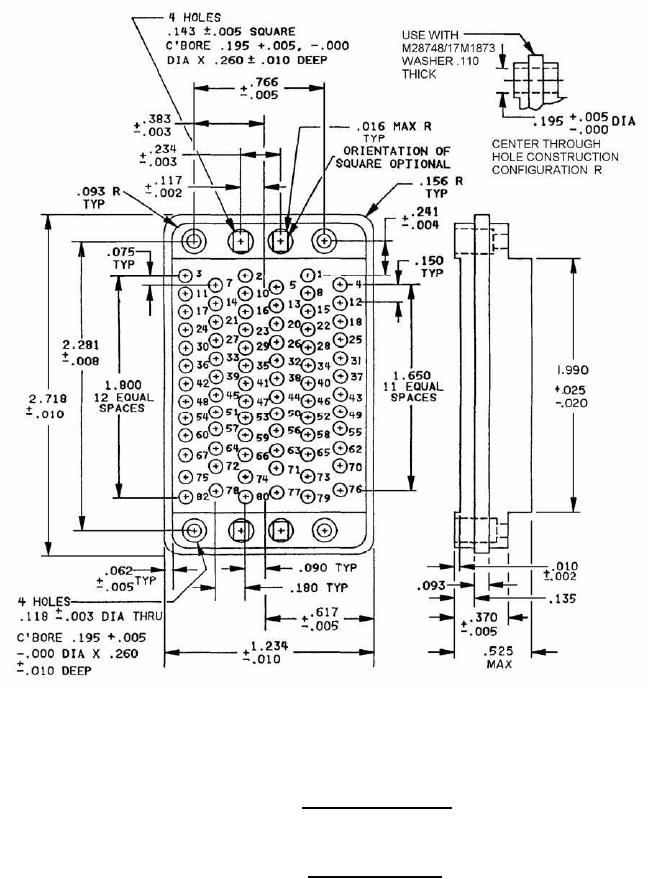
Configuration K - Suitable for all applications, except one-piece jackscrews.
41.91
1.650
Configuration R - For long jackscrews and shield only (through hole alternate construction). 1.800
45.72
50.55
1.990
57.94
2.281
Insert with 75 contacts
69.04
2.718
Insert designators K and R
FIGURE 2. Insert arrangements - Continued.
11
For Parts Inquires submit RFQ to Parts Hangar, Inc.
© Copyright 2015 Integrated Publishing, Inc.
A Service Disabled Veteran Owned Small Business