
MIL-DTL-28748/3F
Inches
mm
Inches
mm
Inches
mm
9.40
.370
3.06
.120
0.05
.002
11.13
.438
3.30
.130
0.10
.004
12.98
.511
3.63
.143
0.13
.005
19.05
.750
3.81
.150
0.25
.010
22.86
.900
4.45
.175
0.41
.016
27.23
1.072
4.95
.195
0.5
.02
31.75
1.250
5.56
.219
1.91
.075
39.67
1.562
6.60
.260
2.29
.09
58.17
2.290
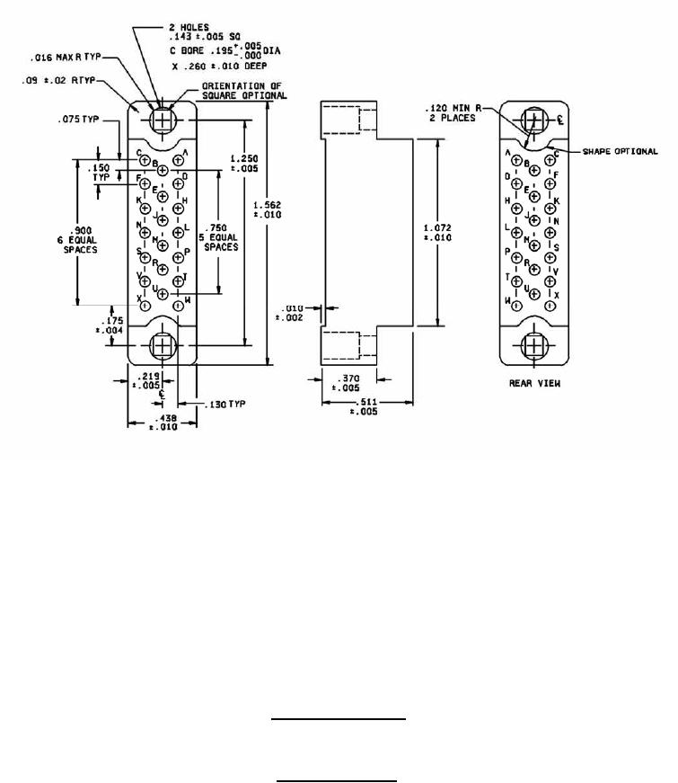
Insert with 20 contacts
Insert designator D
FIGURE 2. Insert arrangements - Continued.
5
For Parts Inquires submit RFQ to Parts Hangar, Inc.
© Copyright 2015 Integrated Publishing, Inc.
A Service Disabled Veteran Owned Small Business