
MIL-DTL-28748/3F
Inches
mm
.002
0.05
.003
0.08
.004
0.10
.005
0.13
.008
0.20
.010
0.25
.016
0.41
.02
0.5
.020
.051
.075
1.91
.09
2.8
.090
2.79
.110
2.29
.118
3.00
.143
3.63
.150
3.81
.180
4.57
.195
4.95
.234
5.94
.244
6.20
.260
6.60
.370
9.40
.375
9.53
.468
11.68
.525
13.34
.750
19.05
1.050
26.67
1.200
30.48
1.376
34.95
1.688
42.88
2.000
50.80
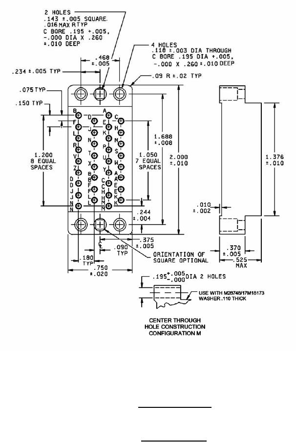
Configuration F - Suitable for all applications, except for one-piece jackscrews.
Configuration M - For long jackscrews and shield only (through hole alternate construction).
Insert with 34 contacts
Insert designators F and M
FIGURE 2. Insert arrangements - Continued.
7
For Parts Inquires submit RFQ to Parts Hangar, Inc.
© Copyright 2015 Integrated Publishing, Inc.
A Service Disabled Veteran Owned Small Business