
MIL-DTL-28748/3F
Inches
mm
Inches
mm
3.81
.150
0.05
.002
4.95
.195
0.10
.004
5.23
.206
0.13
.005
6.60
.260
0.25
.010
7.14
.281
0.41
.016
9.40
.370
0.5
.02
12.98
.511
1.65
.065
14.28
.562
1.91
.075
19.05
.750
2.29
.09
22.86
.900
2.95
.116
27.24
1.072
3.63
.143
33.32
1.312
3.30
.130
41.28
1.625
3.143
.143
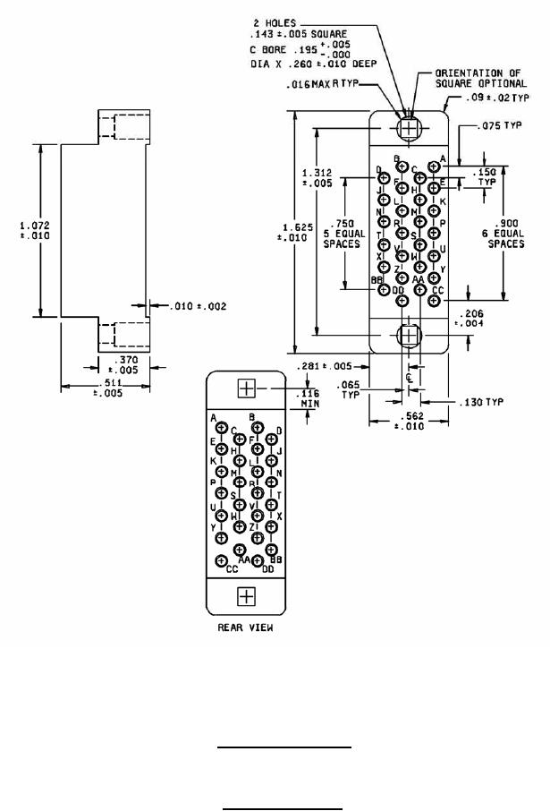
Insert with 26 contacts
Insert designator E
FIGURE 2. Insert arrangements - Continued.
6
For Parts Inquires submit RFQ to Parts Hangar, Inc.
© Copyright 2015 Integrated Publishing, Inc.
A Service Disabled Veteran Owned Small Business