
MIL-DTL-28748/3F
Inches
mm
0.05
.002
0.08
.003
0.13
.005
0.20
.008
0.25
.010
0.5
.02
0.51
.020
1.57
.062
1.91
.075
2.8
.09
2.79
.090
2.36
.093
2.79
.110
3.00
.118
3.43
.135
3.63
.143
3.81
.150
3.96
.156
4.57
.180
4.95
.195
5.94
.234
6.12
.241
6.60
.260
9.40
.370
11.11
.4375
11.89
.468
12.98
.525
22.23
.875
42.04
1.650
45.72
1.800
50.09
1.972
57.96
2.282
69.04
2.718
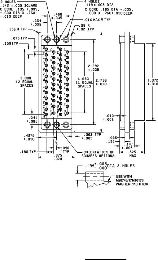
CENTER THROUGH
HOLE CONSTRUCTION
CONFIGURATION P
Configuration H - Suitable for all applications, except one-piece jackscrews.
Configuration P - For long jackscrews and shield only (through hole alternate construction).
Insert with 50 contacts
Insert designators H and P
FIGURE 2. Insert arrangements - Continued.
9
For Parts Inquires submit RFQ to Parts Hangar, Inc.
© Copyright 2015 Integrated Publishing, Inc.
A Service Disabled Veteran Owned Small Business