
MIL-DTL-28748/3F
Inches
mm
Inches
mm
.002
0.05
.169
4.29
.004
0.10
.195
4.95
.005
0.13
.219
5.56
.010
0.25
.260
6.60
.02
0.5
.370
9.40
.016
0.41
.438
11.13
.075
1.91
.450
11.43
.09
2.29
.511
12.98
.120
3.06
.600
15.24
.130
3.30
.778
19.76
.143
3.63
.938
23.83
.150
3.81
1.250
31.75
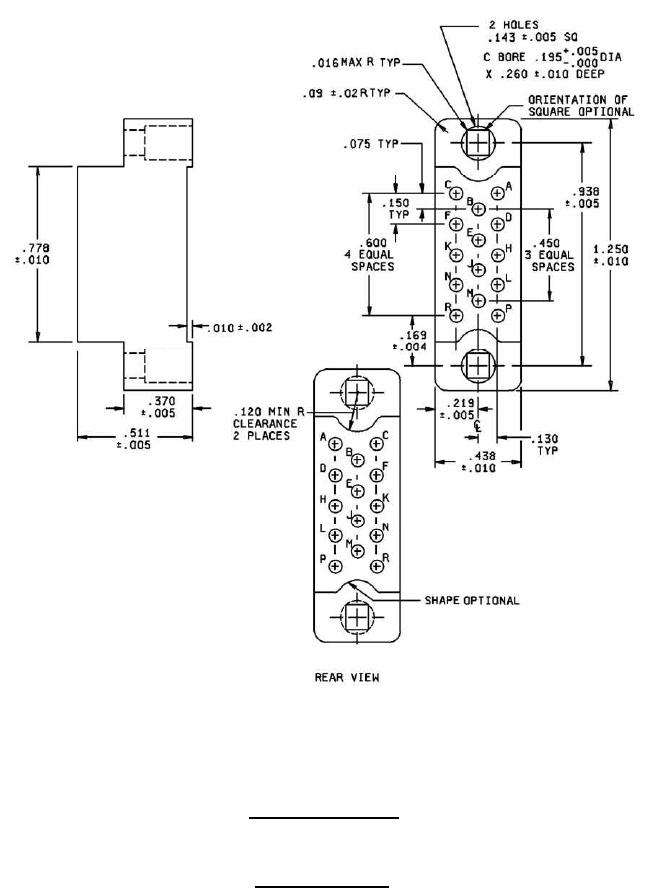
Insert with 14 contacts
Insert designator C
FIGURE 2. Insert arrangements - Continued.
4
For Parts Inquires submit RFQ to Parts Hangar, Inc.
© Copyright 2015 Integrated Publishing, Inc.
A Service Disabled Veteran Owned Small Business